Channel Section Intermediate Torque Applied No1 Roarks Formulas for Stress and Strain Equations and Calculator

The Channel Section Intermediate Torque Applied No1 is a specific case of beam analysis found in Roark's Formulas for Stress and Strain. This classic reference provides essential equations and formulas for calculating stress and strain in various beam configurations. The Channel Section Intermediate Torque Applied No1 case involves a channel section with an applied intermediate torque, requiring precise calculations to determine resulting stresses and strains. Using Roark's formulas, engineers can accurately analyze and design beams under such loading conditions, ensuring structural integrity and safety in various engineering applications. The calculator provides a convenient tool for these calculations.
- Channel Section Intermediate Torque Applied No1 Roarks Formulas for Stress and Strain Equations and Calculator
- What is the formula for torque and stress?
- What is the formula for stress and strain?
- What is the formula for the warping constant of a channel?
-
Frequently Asked Questions (FAQs)
- What is the Channel Section Intermediate Torque Applied No1 and its significance in Roarks Formulas for Stress and Strain Equations and Calculator?
- How do Roarks Formulas for Stress and Strain Equations and Calculator apply to the Channel Section Intermediate Torque Applied No1 case?
- What are the key assumptions and limitations of using Roarks Formulas for Stress and Strain Equations and Calculator for the Channel Section Intermediate Torque Applied No1 case?
- How can engineers use Roarks Formulas for Stress and Strain Equations and Calculator to design and optimize the Channel Section Intermediate Torque Applied No1 case?
Channel Section Intermediate Torque Applied No1 Roarks Formulas for Stress and Strain Equations and Calculator
The Channel Section Intermediate Torque Applied No1 Roarks Formulas for Stress and Strain Equations and Calculator is a comprehensive tool used to calculate the stress and strain on a channel section under various loading conditions. This calculator is based on the Roarks Formulas, which provide a set of equations for calculating the stress and strain on different shapes and structures. The calculator is particularly useful for engineers and designers who need to determine the stress and strain on a channel section under intermediate torque loading conditions.
Introduction to Roarks Formulas
Roarks Formulas are a set of equations that provide a comprehensive approach to calculating the stress and strain on different shapes and structures. The formulas are based on the theory of elasticity and take into account the material properties, geometry, and loading conditions of the structure. The formulas are widely used in the field of mechanical engineering and are considered to be a reliable and accurate method for calculating the stress and strain on different structures.
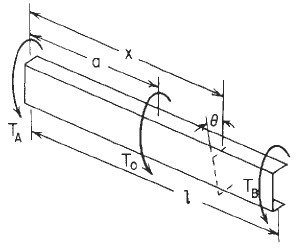
Channel Section Geometry and Loading Conditions
The channel section is a type of structural shape that is commonly used in building construction and machine design. The section has a C-shaped or U-shaped cross-section, with two flanges and a web. The loading conditions for the channel section can vary, but the most common loading conditions are bending, torsion, and axial loading. The intermediate torque loading condition is a type of loading that combines bending and torsion loading.
Stress and Strain Calculations using Roarks Formulas
The Roarks Formulas provide a set of equations for calculating the stress and strain on a channel section under different loading conditions. The formulas take into account the material properties, geometry, and loading conditions of the structure. The equations are based on the theory of elasticity and provide a comprehensive approach to calculating the stress and strain on the channel section. The calculator uses these formulas to calculate the stress and strain on the channel section under intermediate torque loading conditions.
| Quantity | Unit | Description |
|---|---|---|
| Channel Section Dimensions | mm | The dimensions of the channel section, including the width, height, and thickness of the flanges and web. |
| Material Properties | N/mm^2 | The Young's modulus, Poisson's ratio, and yield strength of the material. |
| Loading Conditions | Nm | The intermediate torque loading condition, including the magnitude and direction of the torque. |
| Stress and Strain Values | N/mm^2 | The calculated stress and strain values on the channel section under the intermediate torque loading condition. |
| Calculator Output | Graph | A graphical representation of the calculated stress and strain values on the channel section. |
Advantages and Limitations of Roarks Formulas
The Roarks Formulas have several advantages, including their ability to provide a comprehensive approach to calculating the stress and strain on different shapes and structures. The formulas are also reliable and accurate, and are widely used in the field of mechanical engineering. However, the formulas also have some limitations, including their complexity and the requirement for material properties and geometry data.
Applications of Channel Section Intermediate Torque Applied No1 Roarks Formulas
The Channel Section Intermediate Torque Applied No1 Roarks Formulas have several applications in the field of mechanical engineering, including the design of machine components, building structures, and mechanical systems. The formulas are particularly useful for engineers and designers who need to determine the stress and strain on a channel section under intermediate torque loading conditions. The calculator can be used to optimize the design of the channel section and to predict the stress and strain values under different loading conditions.
What is the formula for torque and stress?
The formula for torque is τ = r x F, where τ is the torque, r is the radius or distance from the axis of rotation, and F is the force applied. The formula for stress is σ = F/A, where σ is the stress, F is the force applied, and A is the area over which the force is applied.
Torque Formula Explanation
The torque formula is used to calculate the rotational force that causes an object to rotate or turn. This formula is essential in mechanics and engineering to design and analyze systems that involve rotational motion. The key components of the formula are:
- The radius or distance from the axis of rotation, which affects the magnitude of the torque.
- The force applied, which is the push or pull that causes the rotation.
- The cross product of the radius and force vectors, which gives the direction and magnitude of the torque.
Stress Formula Explanation
The stress formula is used to calculate the internal forces that are distributed within a material. This formula is crucial in materials science and engineering to predict the behavior of materials under different types of loading. The key components of the formula are:
- The force applied, which can be a tensile, compressive, or shear force.
- The area over which the force is applied, which affects the magnitude of the stress.
- The material properties, such as the elastic modulus and yield strength, which determine the material's response to stress.
Types of Stress
There are several types of stress that can occur in a material, including:
- Tensile stress, which occurs when a material is stretched or pulled apart.
- Compressive stress, which occurs when a material is squeezed or compressed.
- Shear stress, which occurs when a material is subjected to a force that causes it to deform by sliding or rotating.
Applications of Torque and Stress
The concepts of torque and stress have numerous applications in various fields, including:
- Mechanical engineering, where torque is used to design and analyze systems such as gears, motors, and engines.
- Civil engineering, where stress is used to design and analyze structures such as bridges, buildings, and tunnels.
- Materials science, where stress is used to study the behavior of materials under different types of loading.
Importance of Understanding Torque and Stress
Understanding the concepts of torque and stress is essential in many fields, as it allows engineers and scientists to:
- Design and analyze systems and structures that are safe and efficient.
- Predict the behavior of materials under different types of loading.
- Optimize the performance of systems and structures by minimizing stress and maximizing torque.
What is the formula for stress and strain?

The formula for stress and strain is a fundamental concept in physics and engineering. Stress is defined as the force per unit area, while strain is the measure of deformation. The formula for stress is given by: σ = F / A, where σ is the stress, F is the force applied, and A is the cross-sectional area. The formula for strain is given by: ε = ΔL / L, where ε is the strain, ΔL is the change in length, and L is the original length.
Types of Stress
There are several types of stress, including tensile stress, compressive stress, and shear stress. Tensile stress occurs when a material is stretched, while compressive stress occurs when a material is compressed. Shear stress occurs when a material is subjected to a force that causes it to deform by sliding along a plane. The types of stress are:
- Tensile stress: occurs when a material is stretched
- Compressive stress: occurs when a material is compressed
- Shear stress: occurs when a material is subjected to a force that causes it to deform by sliding along a plane
Types of Strain
There are several types of strain, including linear strain, angular strain, and volumetric strain. Linear strain occurs when a material is stretched or compressed, while angular strain occurs when a material is subjected to a torque. Volumetric strain occurs when a material is subjected to a hydrostatic pressure. The types of strain are:
- Linear strain: occurs when a material is stretched or compressed
- Angular strain: occurs when a material is subjected to a torque
- Volumetric strain: occurs when a material is subjected to a hydrostatic pressure
Stress-Strain Curve
The stress-strain curve is a graphical representation of the relationship between stress and strain. The curve is typically plotted with stress on the y-axis and strain on the x-axis. The curve can be used to determine the yield strength, ultimate strength, and fracture strength of a material. The key points on the stress-strain curve are:
- Yield strength: the stress at which the material begins to deform plastically
- Ultimate strength: the maximum stress that the material can withstand
- Fracture strength: the stress at which the material fails
Applications of Stress and Strain
The concepts of stress and strain have numerous applications in engineering and physics. They are used to design and analyze structures, such as bridges and buildings, and to predict the behavior of materials under different types of loading. The applications of stress and strain include:
- Structural analysis: the use of stress and strain to predict the behavior of structures under different types of loading
- Materials science: the study of the properties and behavior of materials under different types of stress and strain
- Mechanical engineering: the use of stress and strain to design and analyze mechanical systems and components
Limitations of Stress and Strain
The concepts of stress and strain have several limitations. They are only applicable to linear elastic materials, and do not account for non-linear or time-dependent behavior. Additionally, the stress-strain curve is only applicable to uniaxial loading, and does not account for multiaxial loading. The limitations of stress and strain are:
- Linear elastic assumption: the assumption that the material behaves linearly and elastically
- Non-linear behavior: the material may exhibit non-linear behavior, such as plastic deformation
- Time-dependent behavior: the material may exhibit time-dependent behavior, such as creep or relaxation
What is the formula for the warping constant of a channel?

The formula for the warping constant of a channel is a complex mathematical expression that takes into account various factors such as the channel's geometry, flow rate, and fluid properties. The warping constant is a measure of the channel's ability to resist deformation under stress, and it is an important parameter in the design and analysis of fluid flow systems.
Definition of Warping Constant
The warping constant is a dimensionless quantity that characterizes the channel's resistance to warping or twisting. It is defined as the ratio of the channel's torsional stiffness to its flexural stiffness. The warping constant is an important parameter in the design of fluid flow systems, as it affects the flow rate, pressure drop, and energy losses.
- The warping constant is a function of the channel's geometry, including its width, height, and length.
- The warping constant is also influenced by the flow rate and fluid properties, such as viscosity and density.
- The warping constant can be calculated using numerical methods, such as the finite element method or boundary element method.
Calculation of Warping Constant
The calculation of the warping constant involves solving a partial differential equation that describes the channel's behavior under stress. The equation takes into account the channel's geometry, flow rate, and fluid properties, and it is solved using numerical methods. The warping constant is then calculated from the solution of the partial differential equation.
- The calculation of the warping constant requires a detailed knowledge of the channel's geometry and fluid properties.
- The warping constant can be calculated using commercial software, such as ANSYS or ABAQUS.
- The calculation of the warping constant is an iterative process that requires convergence of the solution.
Factors Affecting Warping Constant
The warping constant is affected by several factors, including the channel's geometry, flow rate, and fluid properties. The channel's geometry, including its width, height, and length, has a significant impact on the warping constant. The flow rate and fluid properties, such as viscosity and density, also influence the warping constant.
- The channel's geometry is the most significant factor affecting the warping constant.
- The flow rate has a significant impact on the warping constant, particularly at high flow rates.
- The fluid properties, such as viscosity and density, also affect the warping constant.
Applications of Warping Constant
The warping constant has several practical applications in the design and analysis of fluid flow systems. It is used to predict the flow rate, pressure drop, and energy losses in channels and pipes. The warping constant is also used to design fluid flow systems, such as pumps, turbines, and heat exchangers.
- The warping constant is used to predict the flow rate and pressure drop in channels and pipes.
- The warping constant is used to design fluid flow systems, such as pumps and turbines.
- The warping constant is also used to analyze the energy losses in fluid flow systems.
Importance of Warping Constant
The warping constant is a critical parameter in the design and analysis of fluid flow systems. It is essential to accurately calculate the warping constant to ensure the safe and efficient operation of fluid flow systems. The warping constant is also important in the design of fluid flow systems, as it affects the flow rate, pressure drop, and energy losses.
- The warping constant is a critical parameter in the design and analysis of fluid flow systems.
- The warping constant is essential to accurately calculate to ensure the safe and efficient operation of fluid flow systems.
- The warping constant is also important in the design of fluid flow systems, as it affects the flow rate, pressure drop, and energy losses.
Frequently Asked Questions (FAQs)
What is the Channel Section Intermediate Torque Applied No1 and its significance in Roarks Formulas for Stress and Strain Equations and Calculator?
The Channel Section Intermediate Torque Applied No1 is a specific case of torque application in a channel section, which is a type of structural element commonly used in engineering designs. In Roarks Formulas for Stress and Strain Equations and Calculator, this case is particularly important because it provides a mathematical model to calculate the stress and strain resulting from the application of an intermediate torque to a channel section. The channel section is a crucial component in many structures, including buildings, bridges, and mechanical devices, and understanding how it behaves under different types of loading, including torque, is essential for ensuring the safety and reliability of these structures. By using Roarks Formulas, engineers can accurately calculate the stress and strain in the channel section and ensure that it can withstand the applied loads without failing.
How do Roarks Formulas for Stress and Strain Equations and Calculator apply to the Channel Section Intermediate Torque Applied No1 case?
Roarks Formulas for Stress and Strain Equations and Calculator provide a comprehensive set of equations and formulas that can be used to calculate the stress and strain in various types of structural elements, including channel sections, under different types of loading conditions, including torque. In the case of the Channel Section Intermediate Torque Applied No1, Roarks Formulas can be used to calculate the maximum stress and strain that occur in the channel section due to the applied torque. The formulas take into account the geometric properties of the channel section, such as its width, height, and thickness, as well as the material properties, such as its elastic modulus and poisson's ratio. By using these formulas, engineers can quickly and accurately calculate the stress and strain in the channel section and ensure that it can withstand the applied loads without failing. Additionally, Roarks Formulas can be used to calculate the deflection and rotation of the channel section under the applied torque, which is essential for ensuring the stability and structural integrity of the structure.
What are the key assumptions and limitations of using Roarks Formulas for Stress and Strain Equations and Calculator for the Channel Section Intermediate Torque Applied No1 case?
When using Roarks Formulas! for Stress and Strain Equations and Calculator to analyze the Channel Section Intermediate Torque Applied No1 case, there are several key assumptions and limitations that need to be considered. One of the main assumptions is that the channel section is made of a linear elastic material, which means that it behaves in a linear and predictable manner under stress and strain. Additionally, the formulas assume that the torque is applied in a static and uniform manner, and that the channel section is not subjected to any other types of loads or stresses. The limitation of using Roarks Formulas is that they are based on simplifying assumptions and may not accurately capture the complex behavior of the channel section under certain conditions, such as dynamic loading or non-linear material behavior. Furthermore, the formulas are only applicable to channel sections with specific geometric and material properties, and may not be suitable for sections with complex geometries or non-standard materials.
How can engineers use Roarks Formulas for Stress and Strain Equations and Calculator to design and optimize the Channel Section Intermediate Torque Applied No1 case?
Engineers can use Roarks Formulas for Stress and Strain Equations and Calculator to design and optimize the Channel Section Intermediate Torque Applied No1 case by following a systematic approach. First, they need to define the design requirements and constraints, such as the maximum stress and strain allowed, the available materials, and the geometric constraints. Next, they can use Roarks Formulas to calculate the stress and strain in the channel section under different loading conditions, including torque, and optimize the design to minimize stress and strain while meeting the design requirements. Additionally, engineers can use Roarks Formulas to investigate the effect of different design parameters, such as the width, height, and thickness of the channel section, on the stress and strain distribution. By using Roarks Formulas in this way, engineers can create optimized designs that are safe, reliable, and efficient, and that meet the required performance and durability standards. Furthermore, Roarks Formulas can be used to validate and verify the design through finite element analysis or experimental testing, ensuring that the final design meets the required specifications and standards.
Deja una respuesta

Entradas Relacionadas